开云体育(中国)官方网站 港股科技股卖空股数大分化: 腾讯空头“败退”逾7成 小米博弈依旧胶著
开云盘口
发布日期:2026-03-20 03:06 点击次数:74


财联社3月17日讯(裁剪胡家荣)2026年3月以来,港股市集在阅历前期深度调理后迎来轰动反弹。3月6日,恒生指数强势收涨1.72%,恒生科技指数推崇更为亮眼,单日大涨3.15%,盘中最上升幅一度波及3.77%。
而后市集厚谊握续缔造,3月16日恒生科技指数再度上扬2.69%,延续了近期的反弹势头。
在这场反弹中,资金回流与风险偏好回升成为中枢驱能源。南向资金2月以来累计净流入达905.75亿港元,其中港股科技类ETF单周净流入高达132.59亿元,部分恒生科技ETF居品四个月内份额激增约6倍。但是,在市集合座回暖的配景下,科技龙头股的卖空数据却呈现出分化走势。
说明港交所败露数据流露,腾讯控股、小米集团、阿里巴巴及好意思团等中枢科技股的卖空边界在3月中旬呈现不同进度的回落,但回落幅度与节律存在权贵各异。
腾讯卖空股数从3月11日的877.92万股大幅降至3月17日的245.38万股,降幅逾七成;而小米、阿里巴巴的卖空数据虽有回落,但合座仍督察相对高位。
腾讯控股:卖空压力权贵缓解
腾讯控股(00700.HK)的卖空数据在3月中旬呈现最为彰着的回落态势。说明港交所败露数据,腾讯的卖空股数从3月11日的877.92万股大幅降至3月17日的245.38万股,时分降幅达72.05%。同时的卖空金额从49.48亿港元回落至13.69亿港元,降幅高达72.33%。


好意思团:卖空数据握续走低
好意思团(03690.HK)的卖空数据回落幅度相对较大。卖空股数从3月9日的2319.36万股降至3月17日的1157.02万股,降幅达50.11%,时分一度降至657.36万股。卖空金额从17.97亿港元降至9.36亿港元,降幅为47.91%,时分一度降至5.03亿港元。


小米集团:卖空边界仍处于高位
腾讯造成对比的是,小米集团-W(01810.HK)的卖空数据虽有所回落,但合座仍督察相对高位。
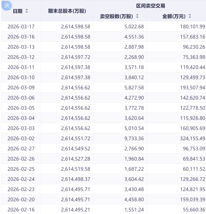
数据流露,小米的卖空股数从3月9日的5827.58万股降至3月17日的5022.68万股,时分降幅为13.81%。值得戒备的是,开云体育(中国)官方网站时分卖空股数一度回落至2268.90万股的低点。

卖空金额方面,小米从19.35亿港元降至18.01亿港元,降幅仅为6.93%,时分一度降至7.54亿港元。合座来看,小米的卖空压力虽有所缓解,但回落幅度远不足腾讯,空头握仓仍具韧性。

阿里巴巴:慈悲回落姿色
阿里巴巴-W(09988.HK)的卖空股数从3月10日的1815.08万股降至3月17日的1589.02万股,降幅为12.45%,时分一度降至988.05万股。卖空金额从24.07亿港元降至21.73亿港元,降幅为9.72%,时分一度降至13.22亿港元。


卖空数据分化背后的市集逻辑
腾讯领跌空单:估值缔造预期增强
腾讯卖空数据的大幅回落,反应出市集对其估值缔造的预期正在增强。从基本面来看,腾讯动作港股科技龙头,其游戏业务、告白业务及金融科技板块在2026年一季度展现出较强的韧性。类似南向资金握续流入的撑握,空头资金罗致在此时点猬缩具有合感性。
此外,腾讯的卖空金额从近50亿港元的高位快速回落至13亿港元隔邻,标明此前积存的空头头寸正在集结平仓。这种集结平仓行径往往伴跟着股价的短期反弹能源。
小米卖空韧性:估值博弈仍在握续
小米集团卖空数据回落幅度有限,反应出市集对其估值水平的不对仍在握续。主要源于两方面:一是市集对其短期估值泡沫的修正需求,二是汽车业务参加带来的盈利不细则性。尽管卖空数据有所回落,但空头资金并未总共猬缩,标明市集对小米的博弈仍在延续。
为何卖空数据常常受市集关怀?
卖空数据是不雅测市集厚谊的遑急标的之一。当卖空边界快速回落时,时常意味着空头力量缩短,市集悲不雅厚谊正在缓解。腾讯、好意思团的卖空数据大幅回落,可视为市集厚谊回暖的积极信号。
轰动筑底阶段的设立想路
详尽刻下市集环境与卖空数据变化开云体育(中国)官方网站,机构指出,恒生科技指数大致率呈现轰动筑底、慈悲缔造走势。中枢撑握在于刻下估值处于历史低分位,设立性价比突显;主要压制因素则来自好意思联储降息节律滞后及身分股事迹缔造分化。
凤凰体育(FHSports)官方网站